Skip to content
Directomotor
Toda la actualidad del mundo del motor
DirectomotorDirectomotor
  • Menu iconPRUEBAS
  • Menu iconCOCHES
  • Menu iconMOTOS
  • Menu iconASESORAMIENTO VIAJES
  • Menu iconGALERIA
  • Menu iconVIDEOS
Search:
Facebook page opens in new windowTwitter page opens in new window
  • Menu iconPRUEBAS
  • Menu iconCOCHES
  • Menu iconMOTOS
  • Menu iconACUATICAS
  • Menu iconGALERIA
  • Menu iconVIDEOS
  • Contact

Tag Archives: hibridas

Kawasaki, presentó un prototipo de moto eléctrica e híbrida en Japón

MotosBy Manel Alonso1 de septiembre de 2022Leave a comment

Kawasaki presentó dos prototipos de motos eléctricas e híbridas en Japón durante la…

Kawasaki detalla su prototipo de moto híbrida

MotosBy Manel Alonso9 de febrero de 2022Leave a comment

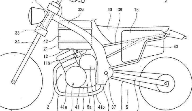
Hemos ido recopilando noticias de Kawasaki y sus planes para una moto híbrida desde que la marca presentó patentes a tal efecto en …

Kawasaki Ninja 250 híbrida, la hibridación llega a las motos

MotosBy Manel Alonso14 de noviembre de 2021Leave a comment

La marca anuncio ya hace un tiempo que en los próximos años desarrollará y presentará hasta 10 modelos eléctricos e híbridos…

KAWASAKI, ha presentado patentes de una moto HÍBRIDA

MotosBy Manel Alonso7 de noviembre de 2020Leave a comment

El mundo de las motos eléctricas, es hoy en día, donde se está investigando y desarrollando todo tipo de soluciones y cada vez son mejores, es el futuro de la movilidad partículas sobre dos ruedas

Kawasaki: motor de combustión de 2 tiempos con sobrealimentación y motor eléctrico

MotosBy Manel Alonso3 de agosto de 2020Leave a comment

Las tendencias, nacen y se siguen y era cuestión de tiempo que los motores híbridos llegaran a las motos, por la fuerza y presencia, que están teniendo en el sector del automóvil

Directomotor
 Dream-Theme — truly premium WordPress themes
Go to Top